- +1
露露混成啥样,它也是河北之光
原创 饱弟 福桃九分饱 收录于话题#中华饮料奇行种图鉴3个
之前,我们写过一篇“河北知名美食”安徽板面,很多河北小伙伴冲向评论区,奶凶奶凶地表示:
别再说板面和驴火啦!我们河北也有很多好吃哒!

此时饱弟一声大叫:开什么玩笑!
河北影响力最大最久的食物,不应该是露露杏仁露嘛!

十几年前,热爱肥宅快乐水的电视儿童们,真没几个不知道承德露露的。
哪怕如今大家更爱奶茶和星爸爸,哪怕它今天不再是顶流,我们依然会在北国之冬的妖风里,想起一罐热露露:
它,才是压倒奇幻建筑和驴肉火烧的河!北!之!光!

爱它的人恨不得当水喝,恨它的人四处重金求购一条没喝过的舌头。
它的味道,实在太特别了。
初入口的刺激性,警醒着人类DNA刻下的求生本能:化学老师和安陵容都告诉我们,苦杏仁味的食物一般比较要命。

因此,在90后幼崽的饮料口味开化期,曾有小伙伴第一次品尝杏仁露时,不小心倒在了桌子上——
三天后,ta想把这张桌子扔了。

无数人曾在科学知识有限但不能说没有的孩提时代,对这种味道展开过狂想。
这些比喻从何而来,我们已经难以考证:
第一个说它像汽油味的人,可能想起了摩托车没油时,车友拔刀相助的甘甜。
关于它像圆珠笔芯油的传言,也许来自于一个上课神游时惨呼一声的缺锌儿童。
然而这位敏锐地感到一股蟑螂味的女士,我们很难说她的经验从何而来——

别瞎想,这事也不是不合理。
曾有在南方遭到变种生物毒打的小伙伴,发现了露露的神奇秘密:
把一整箱喝过的露露空罐放在床下,蟑螂们会自动成群结队钻进去享受肥宅快乐,谁还愿爬上你的床找刺激。
只要你永远不摇晃那个箱子,人间地狱就会止于露露的结界。
其唯一不可信处在于,南方蟑螂更可能卡在罐口,在欣悦中死于可望不可即的幻梦。

© 大神养成中
然而,即便你熬过了一切,认可了露露的味道,你对它在世界上的位置依然迷惑。
作为佐餐饮料,它的味道似乎太厚重,配哪个菜系,在任何场合都不太合适。
过于遗世独立,自成一派,跟谁搭配都不可能锦上添花,只会喧宾夺主。十几年一换的土味包装,更是原罪。

人们到了危难时刻,才会再想起露露,然而最极端的情境,往往会制造最神奇的传说。
听叔辈提及,曾有一位内蒙奇女子,酒量出众,做生意时横扫中原,喝倒一片大汉。
每当大家挣扎着问她秘诀时,她都大方回答:桌上来罐露露,喝再多也不怕。有人听后效仿,一一失败。
直到一天,传奇终结——
酒局正酣,女士按惯例一罐露露下肚,继续豪饮,不想越喝越醉,拿来空罐一看,山寨货,遂大惊失色,委顿于座上,由女伴搀扶酩酊而去。
万世不改的正宗、百毒不侵的煞气,似乎只属于露露。
于是,有人跟它一回生二回熟,抱着征服欲连买了三五罐一喝,竟然爱上了它的桀骜不驯。
饱弟还记得跟它的初遇:一次走亲戚,老人说要请我喝“冰镇水“,然后打开冰箱,从冷藏室最下一格满满的蓝白罐子里,抽出一罐递过来。
九几年,露露就是这个地位,高端矿泉水一样霸气低调的存在。
在露露的家乡河北承德,它更是年复一年的探亲首选。
不管你有没有一个在露露当车间主任的爸爸,邻居是不是给露露家种杏仁,承德孩子都逃不过一个喝到吐的年关。
送来送去,无数中国人在喝完露露的第二天,坐在厕所里出不来。
他们在五谷轮回后弥漫的露露味里陷入迷思,拿起手机搜索原因,却发现没有答案,只有难友。


所以,哪怕人人都忘了露露,河北人也离不开它——
毕竟逢年过节,比起超市里其他散发着不靠谱气息的礼盒,似乎还是露露最保险。

被动接受它的怪味儿,被动在一回生二回熟里,先结婚后恋爱。
其实,这并不奇怪。
因为露露的诞生,本来就等于一场机械降神。
之前,北方人也许喝过杏仁茶,吃过杏仁豆腐,但杏仁露全国真没几个人听过,除了一位——

运到哪里去呢?老爷子一问,得到的回答是:日本。
此时,他想起了曾经出访日本,喝到过一种味道不错的杏仁饮料,日方人员还热情介绍:这是用你们中国的杏仁制造的!
南泥湾的劳动英雄,最懂“自己动手,丰衣足食”的重要性。
于是,一道指示下达到承德罐头食品厂:制造杏仁露,发展我们中华民族的饮料!
那就得干。第二年,第一罐杏仁露研发成功了,1976年成功量产。
然而不得不说,这款横空出世的产品,放在植物蛋白饮料还没有风靡的年代,是有点点超前了。
年产量300吨的小打小闹,打不进大市场,导致中华民族大多数人还不知道这罐中华民族的饮料长什么样儿。

不过,对河北人民来说,改造世界从来就是被动技能。
1984年,新任厂长王宝林决定把不赚钱的肉罐头、水果罐头业务往后捎一捎,以后就主打杏仁露,拉投资豪掷千金,增添设备,扩大业务。
1990年,产品商标定为“露露“,今天我们看都不看一眼的蓝罐子,才成了那个年代像健力宝一样万众追逐的国朝饮料icon。

这场机械降神,竟然被河北人硬生生扛了下来,甚至散发出了别样的光芒。
如今中产们疯狂追逐的植物蛋白饮料,其实远在多少年前,就化身物美价廉的露露陪在我们身边。

如同霍格沃茨城堡伫立在燕赵大地一样,河北的魔幻现实主义世界观,就是把一切不忍直视的土,变成无可置疑的潮。
到了1994年,露露引入法国罐装生产线,年产量暴增至6万吨,完全吊打了十年前的自己。
90年代,无数矢志成为“中国可口可乐”的国产饮料品牌,在外国大公司的并购下沉寂无声。
然而,似乎谁也不敢招惹露露,可能因为,它太强了。
在露露腾飞的年代,王宝林致力把版图扩大到全国,甚至冲向世界,包括跟香港人合作,成立汕头露露,打入华南市场——那时,他还不知道这一决定带来的后果。
1998年,承德露露在深交所挂牌上市。没过几年,大家发现,露露的包装变了,罐儿上多了一个人。

在电视剧的黄金时代,频繁露面于央一黄金时间的演员,等于黄金。

这可能是国产饮料史上最精准、最成功的一次代言人签约。
曾经露露为了打开销路,主打的是“健康”牌,四处请科研机构和食品、药品、营养专家给露露来个鉴定和评价,宣传露露的保健价值。杏仁止咳润肠、养颜抗衰老的说法,更是最大的理论依据。
可一个自带贵妇标签,最会保养的许晴代言,似乎比专家都管用。
经过一段时间的洗脑,部分露露爱好者成功做到了罐上不印许晴就不买。


然而,不动到底有不动的坏处。
当年的老魔幻现实主义艺术家,一味沉迷于曾经的超前,后来停滞不前的苦,就只有自己知道了。

北方人突然惊诧,原来南方也有露露,南方人挠挠头问北方人露露是啥。

很多人从这种寂静里的爆发,想到了些什么:
突然出状况的露露,过得还好吗?
不太好说。
从承德露露近年来的财报,人们发现了很多指向一致的信息:
2016年开始,露露杏仁露的产销量逐年下降,直到2019年才有所回升。
然而,就在回升的同年,它的库存量达到了近年最高的4.9万多吨。

隔壁的死对头,主打“六个核桃”的养元饮品也不舒坦,几乎打了个对折。

而它的价格和独特味道,可能让它还不如沙县小吃柜台上电热锅里的宏宝莱花生露更日常。
可是露露似乎佛了,就决定纯靠杏仁露吃饭。
有人发现,如今杏仁露业务在承德露露的整体营收里,占比高达99.91%。
与之形成鲜明对比的是,2019年它的研发支出总额,仅占公司营业收入的0.61%。
单从投入金额来看,数字还在下降——去年第三季度的研发费用是1170万元,今年同期直接掉到了701万,又砍了40%。
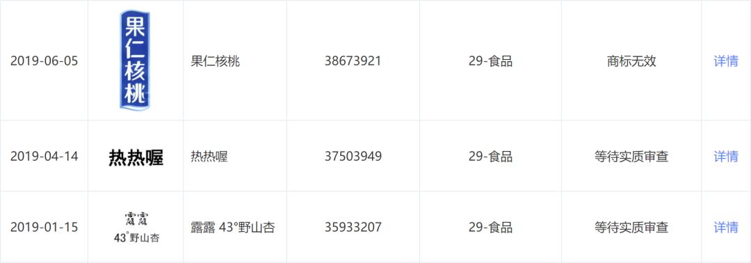
露露对自己的家底多放心,从下面就能看出来了:

当然,面对日新月异,露露除了在老本基础上开发新产品,也有一些动作——比如注册新商标。

像这个“果仁核桃”,从外观看来,似乎是对老对手最后的倔强,“露露43°野山杏”也许是市面少见的一种新产品。
然而连“热热喔”也要注册一下,就让人突然一愣。
确实,露露的宣传卖点也一变再变,“早餐喝热露露”,是他们比较近的策略。
可是,对一个早餐预算10元内的北上广社畜而言,从超市热柜最下层掏出一罐有点挤瘪的,售价5-6元的露露,似乎远不是最好的选择。

作为消费者的我们,似乎想不出什么好主意。苟着,也未必是最坏的结局。
至少在一种条件下,我们还是愿意把露露称为“河北之光”——
每当再有人仰着脸问“河北除了驴火和板面还有什么美食”时,可以大大方方回他一句:“你小时候没喝过露露嘛?”
甚至,你可以递过去一罐给他尝尝,那股味道,足以提醒所有人一个无法更改的事实:
世界可以很魔幻,可露露的存在,却无比现实。
它可以被替代,却始终独一无二。
参考资料:
[1]刘德宽,王玉祥.“露露”——风流一展天下春[J].时代潮,1995(12):41.
[2]毛毳.露露:民族饮料的一颗明珠[J].江海侨声,1997(12):24.
[3]王大光,刘德宽.企业家的胸怀——记河北省劳动模范、河北露露企业集团公司总经理王宝林[J].中国人才,1996(10):34-36.
本文图片部分来自网络
✏
作者 - VJ
设计 - 大雨
原标题:《露露混成啥样,它也是河北之光》
本文为澎湃号作者或机构在澎湃新闻上传并发布,仅代表该作者或机构观点,不代表澎湃新闻的观点或立场,澎湃新闻仅提供信息发布平台。申请澎湃号请用电脑访问http://renzheng.thepaper.cn。





- 报料热线: 021-962866
- 报料邮箱: news@thepaper.cn
互联网新闻信息服务许可证:31120170006
增值电信业务经营许可证:沪B2-2017116
© 2014-2026 上海东方报业有限公司




