- +1
HJT光伏电池,是一条可以躺赢的赛道吗?

作者/星空下的烤包子
编辑/菠菜的星空
排版/星空下的韭菜
在全球经济复苏不及预期的背景下,有这么一条赛道,虽然还保持着高增长的态势(去年1-10月,发电新增装机143GW,同比增长145%),但是,这个领域内卷已经出奇的严重,那就是光伏。
去年如果用一个词来直观描述光伏市场的表现,无疑就是随着新产能的逐渐释放,产业链各环节出现的价格下跌,举个简单的例子,年底下游玩家进行组件集采时,组件玩家的报价已经低于了0.95元/瓦,要知道去年年初的时候,这个价格还能维持在1.9元/瓦。
不少玩家都在这个市场为了活下去而拼命厮杀,甚至已经开始把盈利能力放到了一边。
而在这样的背景下,最近光伏有个细分领域却迎来了久违的大涨,那就是HJT(异质结电池),像北玻股份(002613)等玩家出现了涨停,金刚光伏(300093)也是连涨数日,虽然金刚光伏不出意外要连续五年亏损了(2010年上市以来,公司累计亏损额为6.77亿元),而且资产负债率超过了100%,但是彷佛丝毫没有抵挡投资者的热情。
金刚光伏股价那么,作为下一代光伏技术,HJT的增长到底是回光返照,还是可持续的呢?笔者今天带你来一探究竟。
一、有了机会,就蜂拥而上
HJT电池之所以能出现,本质上还是电池效率天花板惹的祸,毕竟目前主流的PERC(P型电池)电池最高量产效率已经逼近其效率极限24.5%,所以像TOPCon和HJT这两种新生力量,就异军突起,获得了不少产业玩家的青睐。
实话实说,相较于HJT,TOPCon与PERC设备兼容性较好,最近几年在晶科能源(688223)大力发展带动下,TOPCon的发展可以说是十分迅速的,而HJT的优势则在于工序较少,降本的空间较大,两者各有千秋。
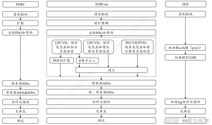
几种电池技术的工艺流程据笔者初步估算,2022年年国内新增建设和规划中的异质结电池产能已经超过了115GW。据专业机构估计,去年全年国内 HJT 电池出货有望达到15GW,增速高达275%,这个增速在如今这个加速内卷的时代里,实属不易。

玩家们也在这个赛道上拼命奔跑,谁也不想丢掉先发优势,比如爱康科技(002610)就孤注一掷,宣布将投资21亿元在江西赣州市建设4.6GW的HJT电池生产项目。
但我们如果横向对比一下,你就会发现比学赶帮超的浓厚氛围,像华晟新能源虽然入局HJT领域的时间远落后于爱康科技,但是去年年底时,其已投产HJT产能就已经达到了12GW,累计出货量超3GW。此外,像东方日升(300118)预计今年公司HJT电池的量产效率将达到26%,在转换效率这条路上争取遥遥领先。
分析这背后的原因,也是源自爱康科技近期现金流已经吃紧,资产负债率超过了70%,可以说在HJT这条路上,爱康科技起了个大早,赶了个晚集。
爱康科技营业收入情况二、降本,永远在路上
如果说什么是光伏行业永恒的主题,降本肯定是其中之一,当然HJT电池也不例外。
如果我们把HJT产业链拆开,你会发现HJT产业链贯穿硅片、电池、组件环节,由HJT电池组件商、设备生产商、辅材耗材生产商等构成。
HJT电池产业链其实HJT降本的方式有很多,比如双面微晶、光转膜、薄片化、银包铜等等,但如果按照抓住主要矛盾的原则,从HJT的成本来看,低温银浆耗量大、价格高,约占太阳能电池片非硅成本的50%-60%。这样一来,降低银浆消耗量将会大大降低异质结电池的生产成本,比如银包铜银浆可利用铜替代部分银,从而减少银的用量。
晶硅电池成本情况就以东方日升为例,这些年就通过0BB(无主栅)技术、低银含浆料等手段,显著降低了银浆的成本和使用量,公司预测5分/W的银浆成本目标在今年上半年就能实现。此外,东方日升已经开始全面应用110µm超薄硅片,毕竟硅片成本在整个电池的成本中无疑占比最高,硅片减薄是最直接和最有效的降本手段,
所以,玩家都通过技术创新建立降本的“护城河”,在HJT电池领域体现的淋漓尽致。
三、不是谁都能当卷王
其实,在笔者看来,HJT电池效率和组件功率相对更高,更有可能成为未来主流。但短期来看,传统势力更倾向于TOPCon,最根本的原因在于产线的投资成本更低,和PERC电池产线更相容一些。
据专业机构预测,明年,HJT设备订单空间有望突破800亿元,三年复合增速为98%,耗材类市场潜力有望达50亿元,三年复合增速为220%,这个市场增速,或许让不少玩家都心向往之。
而目前来看,HJT降本的速度直接影响着其出货量(成本劣势主要是光伏银浆占比太高和设备投资大导致),降本的核心又在于技术创新。所以,没有两把刷子,想进入这个赛道分一杯羹,也并不是那么容易。
注:本文不构成任何投资建议。股市有风险,入市需谨慎。没有买卖就没有伤害。
本文为澎湃号作者或机构在澎湃新闻上传并发布,仅代表该作者或机构观点,不代表澎湃新闻的观点或立场,澎湃新闻仅提供信息发布平台。申请澎湃号请用电脑访问http://renzheng.thepaper.cn。





- 报料热线: 021-962866
- 报料邮箱: news@thepaper.cn
互联网新闻信息服务许可证:31120170006
增值电信业务经营许可证:沪B2-2017116
© 2014-2026 上海东方报业有限公司




