- +1
从热力学第二定律到第四定律:关于物理、生命、信息、认知的大统一理论
原创 Rod Swenson 集智俱乐部
导语玻尔兹曼将热力学第二定律视为“无序定律”,这巩固了当代思想中“两条对立河流”的观念:物理河流“向下”流向无序,生命和心智河流“向上”流向更高层次的秩序。然而,这种物理范式与生命和心智范式的分割,将许多科学中最深层次的问题,包括生命的本质及其认知能力,排除在当代科学的理论范畴之外。发表于 The Royal Socienty 的综述文章介绍了一种扩展的物理学观点:通过加入热力学第四定律或最大熵产生定律(law of maximum entropy production, LMEP),加上第一定律时间平移对称性及自催化系统的关系本体的自指循环性,为统一物理、生命、信息和认知(心智)的大统一理论奠定了基础。这消解了“两条河流”的错误见解,并解决了与之相关的、先前无法解决的现代科学基础问题。本文是“热力学2.0:架起自然和社会科学的桥梁”主题特刊的一部分。
关键词:热力学,自然演化,自发秩序,最大熵产生定律,自组织,信息论
Rod Swenson | 作者
吴晨阳 | 译者
梁金 | 审校
目录
1. 引言和背景:还原唯物主义及现代科学世界观的根基
2. 热力学第一和第二定律:维持和变化的物理基础
3. 生命的本质、目的和运作方式?达尔文主义作为进化理论的缺陷
4. 颠覆第二定律是“无序定律”的观点:物理选择或为什么世界会从事秩序生产
5. 生命、信息和“心智”(认知)的进化
6. 结论
论文题目:
A grand unified theory for the unification of physics, life, information and cognition (mind)
论文地址:
https://royalsocietypublishing.org/doi/10.1098/rsta.2022.0277
1. 引言和背景:
还原唯物主义及现代科学世界观的根基
在培根(1)和笛卡尔对亚里士多德的目的论进行猛烈抨击之后,牛顿力学的成功为现代科学世界观的建立铺平了道路,该世界观几乎完全建立在动力因(efficient cause)之上 【1】。相比之下,亚里士多德物理学的内在是主动的、目的导向的和多因果的。这种“无目的粒子”世界观的还原唯物主义有效地消除了物理世界中的所有目标、意图和其他目的导向的行为。虽然牛顿的物理学超越了笛卡尔的物理学,但正是后者的形而上学为现代科学世界观奠定了基础,其中物理学(物质)和心理学(心智)在其现代起源上被定义为是相互排斥的(不可通约性的第一个假设)[2-4]。“心智”(感知的心智,“思考的我”,或笛卡尔的“自我”,res cogitans),作为世界中积极、努力、目的导向的部分,被认为在空间和时间上是无限的,不受物理定律的约束,而“物质”(身体,res extensa),作为世界中物理的、“死的”部分,由惰性、可逆、没有特色的粒子组成,这些粒子由空间和时间上的广延及严格的确定性定律所详尽定义。这有两个直接的含义。
脚注【1】:比如“追根究底是没有结果的”,培根说,“就像献给上帝的处女一样不会孕育出任何东西”(Nam causarumfinalium inquisito sterilis est, et tanquam virgo Deo consecrata, nihil parit[1])。
第一个含义是,一个通过定义被高度还原(reduced)的物理学需要超物理的外在秩序(extra-physical ordering)或一个外部的“制造者”来构造其秩序。正如波义耳(Boyle)和牛顿的著作所表明的那样,这本身就被用作了上帝存在的论据[1]。当世界被构想为是一个巨大而又精巧有序的、由“死”(可逆)粒子组成的机器或钟表时,它自然需要一个物理世界之外的“钟表匠”来构建其秩序。因此,根据笛卡尔的观点,人类处于一种二元的位置,其“心智”奇迹般地存在于物理世界之外,而身体则在其中,为着实现神圣的目的而操作着钟表。
第二个含义特别值得注意,因为它从根本上破坏了第一个含义。具体来说,给定第一个假设所宣称的本体论(ontology),“心智”(=所有超物理的制造者)根据其定义在逻辑上是被禁止与它所依赖的物理世界(物质)相互作用的。为了对一个由广延定义的世界施加作用,一个行为体/主体必须在空间和时间的特定位置与物理世界或其部分相遇,以某种方式对它施加力。但是,对于一个广义的笛卡尔式心智(一个超物理的东西)来说,这样做就意味着它本身变得具有广延性,并成为它所不是的东西。通过热力学第一定律的直觉,莱布尼茨认识到,要使一个事物与另一个事物相互作用,在相互作用中必须有一些东西是守恒的,而对于一个无广延、无规律的事物来说,是不存在这种守恒的。这种普遍的因果不可能性,即笛卡尔式或“二元交互主义”的问题,至今仍是各学科中一个核心问题 [2]。
后来,康德追随笛卡尔,认为生命体主动、目的导向的努力(及其终极目的(telos))不能作为物理学中“死”世界的一部分来解释,从而提出了第二个主要的二元论,即物理学与生命之间的二元论(“不可通约性的第二个假设”)[5]。这种“生物学的自主性”独立于物理学的观点,在现代科学世界观中一直根深蒂固,直至今日。这一观点的坚定支持者梅尔(Mayr)采用了“目的性”(teleonomy)一词来代替目的论(teleology),并将其定义为“基于编码信息程序运行的系统”[6,第42页],然后通过自然选择来解释这种系统。下面将更全面地讨论以这种方式依赖自然选择所存在的缺陷。
然而,真正使现代科学世界观中的“不可通约性”假设具体化的,是玻尔兹曼将热力学第二定律视为“无序定律”,因为该定律据称是源自物理学本身。在此之前,人们认为世界是由可逆的“死”粒子组成,这些粒子需要被赋予秩序;而现在,物理世界不仅是被动的,而且还在不断地破坏现有秩序。随着对地球的生命起源和进化的研究表明,生命在不断朝着更高层次的有序状态发展——这一过程似乎与物理定律背道而驰,所谓的“两条对立河流”的观点——生命与心智之河“向上流动”,而物理之河则“向下流动”——就此牢牢地扎根于现代科学世界观中[7]。
2. 热力学第一和第二定律:
维持和变化的物理基础
到十九世纪中叶,地质学和古生物学的证据破坏了不可变的机械世界观,进化论这一主题也变得广泛流行起来[3,5]。与此同时,人们通过一系列看似简单的实验发现了热力学第一定律,并在不久之后又发现了第二定律。这些定律的深刻性质与物理学中所有其他定律都非常不同,但在它们被纳入笛卡尔范式后,这些性质却常常被忽视或掩盖。这些定律将维持和变化(persistence and change)、或者更深入地说是不变性以及通过这种不变性而产生的目的导向性实体化了,它们从第一性原理(first principle)展示了关系本体论的必然性[7, 8]。因此,它们是自然界的特殊定律,因为从字面上讲,如果没有它们,例如第一定律的时间平移对称性,那么就不可能有其他任何定律。第二定律也表达了一种对称性,但它表达的对称性同时也支配着第一定律。因此,许多人,例如爱丁顿[9],将其称为“自然界的最高定律”。
(a)第一定律及万物的统一
对于第一定律,关键在于对机械能和热量之间的等价性的发现、观测以及随后的证明[4]。在此之前,热量被认为是一个单独的守恒量(“热质”),正是对这种观点的否定才打开了突破口。戴维(Davy)意识到,摩擦冰块会产生热量,从而加速融化。迈耳(Mayer)则通过摇晃盛有水的罐子来提高水温,证明了同样的现象。迈耳试图发表其研究结果时被拒绝了,直到焦耳(Joule)通过他更精确的桨轮实验才最终推动了这一发现的接受(图 1)。第一定律的发现揭示了所有自然过程的统一性,即所有形式的能量都可以相互转换,而总量始终守恒(不会被创造或破坏)。常被人忽略的是,这印证了莱布尼茨(Leibnitz)对物理(物质)和心理学(心智)分离以及笛卡尔交互主义的反对的正确性 [3]。

图1. 焦耳的桨轮实验。悬挂的重物(机械势能)连接到一个处于绝热容器(没有热量进出)内的桨轮上,并由约束装置固定。当约束装置被移除时,重物下落,带动桨轮转动,从而提高了水的温度。这证明了机械能和热能的等效性,同时总能量保持守恒 [4]。
(b)第二定律:以自然法则的形式,变化(“流”)被物理化为了目的导向性
在早期为理解蒸汽机运转的驱动力的工作中,卡诺(Carnot)[10]得出了一种重要的理解,但这一理解也留下了一个关于第一定律悬而未决的问题。卡诺的洞察力在于,他认为是热量的“下降”(从较高温度到较低温度)产生了“动力”或他所谓的“可用性”,从而驱动了蒸汽机,就像水从较高处落到较低处推动水轮一样。但他也注意到,在这样的转变过程中,这种可用性会丧失(水轮下方的水将不能再推动它)。克劳修斯(Clausius) [11] 和汤姆森(Thomson)(指开尔文勋爵(Lord Kelvin)) [12] 明确认识到,卡诺的结果可以总结为,如果存在一个守恒量(第一定律),那么就必然存在另一个非守恒量。克劳修斯创造了“熵”一词来指代卡诺可用性(势能)的倒数,因此第二定律在其最一般形式下的表述是,所有自然过程都朝着最大化熵的方向进行(或等价地,最小化势能或可用性)。简单来说,在所有自然过程中,熵总是会增加。因此,对于克劳修斯给出的普遍陈述,如果将宇宙视为一个孤立系统(或对于其内部的任何孤立系统),第二定律的“平衡方程”为:
ΔS > 0,或者在平衡状态下ΔS = 0. (2.1)
热力学第二定律的主动宏观本质似乎是对可逆的“死”的(非活性的)机械世界观敲响的丧钟,为基于目的导向的物理学赋予了科学意义。克劳修斯[11] 写道(在一个经常被误引的短语中【2】),“宇宙在努力(strives (strebt))使熵最大化”。第一定律是一个守恒定律,相较之下,第二定律则表明,对于这种守恒量的非均匀分布,存在着未实现的对称性,即破缺的对称性(broken symmetry)(时间反演对称性),世界会自发地行动以实现这种对称性。
脚注【2】:在一次修正变动中,大多数现代教科书都将克劳修斯使用的单词“努力”(strives)改成了“倾向于”(tends),使其看似与玻尔兹曼对第二定律的统计学观点相符。然而,这是对克劳修斯观点的一种误读。
(c)作为无序定律的第二定律:玻尔兹曼对第二定律的统计学解释为机械世界观注入了活力
(i)玻尔兹曼及“秩序的无限不可能性”:作为盒中气体的世界
第二定律的活跃宏观本质对机械世界观提出了直接挑战。玻尔兹曼试图通过将热力学第二定律还原为机械粒子随机碰撞产生的概率规律来应对这一挑战。受到麦克斯韦(Maxwell)的影响,玻尔兹曼将气体分子建模为在一个盒子中碰撞的台球,他指出,随着每次碰撞,非平衡速度分布(一群以相同速度和相同方向运动的分子)将变得越来越无序,最终达到宏观均匀和微观无序的平衡状态,即最大熵状态。玻尔兹曼认为,第二定律可以还原为这样一个事实:在一个充满机械碰撞粒子的世界中,无序状态是最有可能的。由于无序状态比有序状态多得多,系统几乎总是会处于最大无序状态(具有最多可达微观状态的宏观状态,例如平衡状态下容器中的气体),或者向着它演化,使从无序到有序的转变变得“无限不可能” [13]。玻尔兹曼写道:
“分子以相同的速度和相同的方向运动是可以想象的最不可能的情况...... 一种无限不可能的能量构型......”
随着玻尔兹曼将第二定律重新塑造成仅关注动力因的概率定律,并将其还原为“无序定律”,机械世界观暂时缓和了卡诺、克劳修斯和汤姆森所认识到的宏观目的导向带来的压力。同时,“两条河流”的愿景变得更加根深蒂固。新达尔文主义(Neo-Darwinism)的创始人之一费舍尔 (Fisher)[14] 认为“熵的变化导向逐步的组织瓦解...... 而进化的变化导向逐步变得更高层次的组织形态”。列文斯(Levins)和列文廷(Lewontin) [15] 宣称“有机进化是对物理进化的否定”。更近代的丹尼特 (Dennett)[16] 为了支持他对认知(心智)和生命的计算主义或(基于规则的)算法观点,将它们描述为“违背”第二定律的事物。弗里斯顿(Friston) [17] 将生命、认知系统(心智)描述为“以某种方式设法违反”第二定律的系统,以支持他对生命、认知系统(心智)的贝叶斯信息理论解释。
3. 生命的本质、目的和运作方式?
达尔文主义作为进化理论的缺陷
达尔文主义 (或新达尔文主义) 理论目前被认为是解释进化的理论,但至今为止仍被束缚于其对生物学自主性的承诺。新达尔文主义理论认为,进化可以通过自然选择来解释,而自然选择则由一种情境逻辑来解释 [18]。也就是说,如果满足某些条件,那么自然选择就必然会发生。这些条件包括:(i) “繁殖力(fecundity)原则”,这是达尔文主义理论的一个生物学极值,也是达尔文理论不可或缺的一个元素,用达尔文的话来说,也就是每个生物填充或“抓住自然界经济中所有未被占领或未被填满的空间”的“努力”或“挣扎” [19];(ii) 有限资源(马尔萨斯陷阱(Malthusian closure));以及 (iii) 可遗传变异。这三个条件必然会导致“生存竞争”,进而导致适应和“适者生存”。但需要注意的是,这将生物填满自然界的主动努力排除在了达尔文主义理论的解释框架之外 [20]。自然选择不是解释这种现象,而是依赖这种现象才能运作。生命体的起源和本质必须在理论之外特别地假定。因此,对于达尔文主义理论来说,“进化”是以生命及其所有主动特性为既定事实,而不是加以解释。
对于达尔文来说,生命是由造物主“赋予”死物的 [19]。近代观点则假设,在“起源事件”发生之前有大量的漫长的时间(如10-20亿年),并在某种“只需要发生一次”的极不可能的偶然事件下产生了生命 [5]。然而,最近的古生物学发现推翻了这种说法。研究表明,生命并非经过漫长时间后才出现,而是在地球形成、冷却到足以防止海洋蒸发后,就抓住机会几乎立刻出现了。这种机会主义的秩序构建一直在持续,例如,一旦大气中的氧气 (O₂) 水平足以支持,多细胞真核生物就出现了,随后在氧气水平进一步增加时,更大的生命形式也随之出现(图2)[21]。

图2. 随着大气氧气(O₂)水平的升高(PAL = 当前大气水平),机会性地产生越来越高级的有序状态 [21]
达尔文主义无法解释生命的本质,即其主动的、目的导向的填充自然界经济空缺的努力,除此之外,它由于将生物学与物理学分离开来,还引发了一系列相关问题(有关细节请参阅参考文献 [3-5, 8, 20])。首先是“单个体种群问题”(problem of the population of one) [5, 21],我们之前讨论的起源问题就是其中一个特例。这个名称来自于行星演化的例子。在上个世纪后半叶,人们逐渐认识到,在最高层次上,地球已经演化为一个单一的全球实体 [3, 5, 21]。最直接的初步证据是地球大气中氧气 (O₂) 的产生和维持,所有的高级生命形式都依赖于大气中的氧气,而它又是由生命本身创造并维持的(见图 2)。由此,进化变成了一个连贯的行星范围的过程,所有其他生命形式都是其组成成分,我们现在需要将行星系统本身视为陆地进化的基本单位。
然而,对于达尔文主义理论来说,这是一个主要问题,因为从它的观点来看,地球根本无法进化,也不能被视为一个进化的单位。达尔文主义将进化定义为自然选择作用于许多相互竞争、复制或繁殖的种群的产物,它无法认识到行星的进化,因为没有可以供自然选择作用的复制或竞争的地球系统群体 [22,23]。地球的进化是作为一个单个体群体而进行的。生命起源和行星演化都是“单个体种群问题”的特例;都是一个更深层次问题——即自发秩序构建(spontaneous ordering)本身——的样例。正如下面更详细阐述的那样,所有自发秩序构建的系统都起源于微观到宏观的转变,而由于这些系统是单个体种群,达尔文主义理论无法对其作出解释,它本身没有关于秩序构建的理论。
这一问题还有其他一些相关的分支,进一步突显了由于达尔文主义理论将自身与物理学分离开来所导致的功能失调。简单来说(详情请参阅参考文献,如 [3, 4, 20]),第一个是序数性(ordinality)或进化方向的问题。进化的渐进性很容易观察到(例如,图2),但正统的达尔文主义理论坚持认为进化根本没有任何方向[24]。它是一个时间对称的理论,理论内没有任何可以用来衡量甚至识别进化方向的可观察变量(observables)。由于适者生存是相对于一个繁殖种群中的成员而言的,不同类型生物的适应性是不可比较的,例如,斑马的适应性不能与老鼠或变形虫的适应性相比较 [25]。
最后,必须指出达尔文理论在没有秩序构建理论的情况下无法解释整个文化进化,即人类社会进化和人工制品的发展,从狩猎采集部落到民族国家的兴起,再到当今加速构建的全球秩序[3,5]。当前人类世(Anthropocene)正处于行星秩序构建速率和规模不断增加的对称性破缺之中,而这在达尔文主义的理论框架中甚至都无法体现出来。达尔文主义被定义为自然选择导致的基因频率变化,这再次将文化演化 (它并不是由基因频率的变化来定义,但却以比那远快的速度发生)排除在了达尔文主义理论的解释范围之外。
4. 颠覆第二定律是“无序定律”的观点:
物理选择或为什么世界会从事秩序生产
(a) 世界不是盒中的气体,玻尔兹曼的还原论很容易被证伪
在理论取证(forensics)、解构或理论选择中,有许多个版本的常识准则,即如果你看到的世界处处都与你的理论相悖,那么更可能是你的理论错了,而不是世界错了。撇开统计方法在物理学中作为启发式工具的效用不谈,玻尔兹曼试图将第二定律归结为机械碰撞粒子产生的统计结果的尝试很容易被简单的实验所证伪。简而言之,第二定律并不能这样还原。

图 3. 贝纳德(Benard)对流实验的两个时间切片展示了一种粘性液体,其被置于底部均匀热源(source)和顶部冷空气(热汇(sink))之间。两者的温差产生了一个具有热力学力F的势。当F低于临界阈值时,系统 (a) 处于无序或 '玻尔兹曼状态',热量通过分子的无序碰撞流动,宏观状态看起来是同质的(homogeneous)。相较之下,(b) 一旦F增加到阈值以上,宏观状态就被从微观状态中选择了出来(从无序流中产生了有序),数以亿计的分子开始集体移动 [5]。
图 3 展示了我们实验室几十年前进行的经典贝纳德对流实验(Benard cell experiment)的两个时间切片[1, 5, 8, 19]。实验中,粘稠液体被夹在一层底部均匀热源 (源) 和顶部较冷空气 (汇) 之间。温差产生了一个具有热力学力F的势,其大小取决于它们间温差梯度的陡峭程度。当F低于临界阈值时,系统 (图 3a) 处于线性无序的“玻尔兹曼状态”,热量从热源到热汇的流动源于分子的无序碰撞,宏观状态看起来是同质的。但是 (图 3b) 当F超过阈值时,系统从微观状态中选择出了宏观状态,数亿个分子开始共同运动,形成一个新的高度有序的宏观状态。根据玻尔兹曼对第二定律的还原解释,这种转变是无限不可能的 (§2c(i))。然而,我们在这里可能很容易看到,这一断言被这个简单的实验彻底地证伪了,这个实验中,秩序并非是无限不可能的,而是以1的概率产生,也就是说,每当有机会发生时(每次F超过临界阈值时)它就会立刻发生。这个简单实验揭示了很多普遍性的原理,但最重要的是,它完全证伪了玻尔兹曼的还原。第二定律不能还原为无序定律或随机碰撞函数。世界并非盒子里的气体 [1, 3, 5, 20, 26]。
(b) 物理选择:从微观状态中诞生的宏观状态
(i)通过流动而保持恒等性:自催化动力系统的关系本体论
贝纳德对流是“自催化动力” (autocatakinetic,ACK) 系统的一个成员,这个术语比历史上常用来指代同一类系统的“自组织系统”(self-organizing system)或“耗散结构”(dissipative structure)术语定义得更精确。后者由于缺乏明确的定义,也被用于描述非常不同的、不属于该类的系统(见附录A)。我们之所以使用自催化动力系统一词,正是为了做出这一重要区分。自催化动力系统是流动结构(flow structure),它们的同一性是通过流动构成的,其定义如下:
自催化动力系统是这样一种实体,其在经验上源于一组非线性(循环因果)关系(称作构成关系(constitutive relations)),并由这组关系所构成,该实体的组成成分在持续的协同运动中不断耗散或分解环境中的势能 (资源),并以之维持“自身”的存在[4,5,7,8]。
从定义中可以很容易地看出,从细胞到生态系统的所有生命系统无论规模如何(包括地球本身)都是自催化动力系统,无生命系统如尘暴、龙卷风以及贝纳德对流实验之类的实验系统也都属于这一类。这个定义明确不包括机器、人工制品或那些完全依靠规则运行(如算法)或执行规则的系统。所有这些系统,无论是否理想,都被发现是自催化动力系统的组分过程,但它们本身并不是自催化动力系统。
图 4 展示了一个典型的自催化动力系统的“最小本体论”(即最精简的描述)的示意图。图中的连接符号强调了我们讨论这类系统时所指的不可约的关系型本体论。那些将其作为实体、作为“自我”而与周围环境区分开的构成关系,起源于并通过守恒量(能量,“世界”,E)而维持。
自催化动力系统的“自私性”——使用“自我”一词的本体论基础——体现在构成它们的循环因果关系中。它们是“偏差放大系统”(deviation-amplifying systems)[27],或者用热力学语言来说,它们是“自放大汇”(self-amplifying sinks)。这种汇将内部产生的力(F₂)反馈回去,放大自身的资源输入(势能),从而维持自身的存在或向着更高有序性发展 [20]。

图 4. 典型的自催化动力系统。E(左侧)是守恒量(能量,“世界”),自催化动力系统正是由此产生并以之维持自身。EI 和 EⅡ 分别表示源(能量 E 的非平衡区域)和汇(能量 E 的平衡或接近平衡的区域),它们之间的梯度形成一个势,并产生力 F₁,F₁ 的大小由梯度陡峭程度决定。ΔEI 是流入系统或从该势中流出的能量流,它在输出端转化为熵 ΔS。EⅢ 是系统内部的势,该势由系统的构成关系携带,并根据系统距离平衡态的远近施加反作用力 F₂ 来放大或维持输入能量。(取自 auto-‘自我’+cata ‘向下’+kinetic ‘物质运动及其相关联的力和能量’) [4,7]。
(ii) 冯·贝塔朗菲、薛定谔和普利高津
冯·贝塔朗菲(Von Bertalanffy)[28] (以“开放系统”之名)以及薛定谔(Schrödinger)[29](将生命比作火焰),都帮助缓和了物理学与生物学之间的问题,他们指出只要生物体能够产生足够的熵来补偿其内部熵的减少(即那些定义了它们的秩序或它们吸纳的势能),从而满足第二定律的平衡方程 (2.1),那么就不会违背经典表述的第二定律。后来,普利高津(Prigogine) [30] 用“耗散结构”一词表达了相同的观点。这样一来,平衡方程可以分为两项。第一项是对由于薛定谔所称的“负熵”或者说是由系统“摄取”并导入系统内部的势能 (能量梯度) 而导致的熵的变化;第二项是系统因构建秩序和背离平衡而产生并向环境中耗散的熵。
ΔSe + ΔSi > 0. (4.1)
从这个观点来看,只要所有的生物和非生物自催化动力系统偿还了它们的“熵债” [4,5],它们的存在就是被许可的。这有助于将生物识别为流动结构,但主要问题仍未解决。
存在被允许,固然如此;但为什么它们会存在?什么能够解释它们的机会主义起源、那让它们得以产生的对存在的迫切需求?一开始是什么驱动着他们在发展过程中逐渐远离平衡?生命和心智的起源与进化模式都是以这种行为为特征的。究竟是什么样的普适性原则能够解释为什么世界会热衷于秩序的生产?
(iii) 从无序到有序或从微观到宏观,以及对物理选择原理的需要
要回答这个问题,第一步是要理解自发秩序构建(spontaneous ordering,自催化动力状态的产生)作为一种从微观(无序)到宏观(有序)的转变,是一个选择过程 [20,21]。根据定义,它是从最初较大的集合 M₁ 中选择一些数量少得多的可达微观状态 M₂(新的有序宏观状态)。这可以等同地理解为:自发地对先前无序或较少有序的微观状态施加约束,从而在有序流的产生过程中显著限制它们的自由度。简而言之,自催化动力学(自发秩序构建)需要选择 [20],也就是说,如果后者已经发生/正在发生,那么一个选择过程已经/正在发生。但是,很明显,这种选择不是在复制实体之间进行的(生物学或“自然”选择),并且同时又能够在简单的物理系统中观察到,这就迫使人们认识到:一定有一个凌驾一切的物理选择原理来解释它。
(iv)自催化动力闭合与时空的扩张
解决普遍秩序构建问题的第二步,需要更详细地观察自催化动力系统在个体化、实体化和渐进式秩序构建的过程中,结构上发生了什么。系统的起源发生在一个对称性破缺事件之后,当自催化闭合发生时,一种新的因果关系——即一个让系统与周围环境显著不同的构成关系的自放大环状闭合——字面意义上诞生了(图5和图4,后者展示了一般的构成流示意图)[3, 5]。
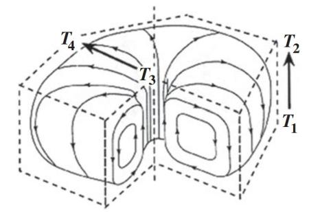
图5展示的是贝纳德对流实验的宏观流动结构,数以亿计的分子从先前的随机碰撞状态转变为协同运动。T₁→T₂表示热源和热汇之间的温度梯度,这个梯度促成了流动。由于密度与温度成反比,所以底部到顶部还存在着一个密度梯度,其为受到随机碰撞而向上移动的分子团(小团液体(parcels))提供了向上的浮力。如果梯度足够陡峭,使得该小团液体向热汇运送热量的速度高于其周围环境耗散热量的速度,那么我们就会看到在小团液体把热量送到表面热汇的过程中宏观开始被从微观中选择出来。小团液体上升时所携带的热量同时也增加了其正上方表面的温度,形成了表面温度梯度T₃→T₄,其会将热的流体拉向周围较凉的环境,从而进一步放大宏观的向上热流。被表面温度梯度拉走的流体会在那里降落到底部,再次被加热,从而维持了贝纳德对流环的构成关系和自催化动力,这一过程造就并定义了贝纳德对流环 [20]。
我们已经接近了我们要找的答案,但为了更充分地理解,还需要在结构上或维度上理解在这个秩序构建过程中发生了什么,而那就是:系统的时空维度增加了几个数量级。在玻尔兹曼状态下,唯一可测量的维度是平均自由程(mean free path distance)和弛豫时间(relaxation time)(碰撞之间的平均时间和距离),大约是10-10 cm和10-15 s,属于纳米级。而在有序的宏观状态下,可测量的维度或组分之间的关联增加到厘米和秒级。如果将微观模式大致缩放到人体大小,那么宏观尺度将比地球的周长大很多倍,并且在超过45亿年的行星演化时间尺度上发展并持续存在。这意味着什么呢?

图 5. 贝纳德对流系统的一般示意图。T₁→T₂是下方热源和上方热汇之间的原始温度梯度,其有一个由温度梯度陡峭程度衡量的力F₁,该力驱动着流。T₃→T₄显示了发展出来的表面温度梯度,其具有力F₂,可反向作用以放大结构的实例化。通过这种自发的秩序构建,系统的时空维度会增加几个数量级 [20]。
(v)从第二定律的分割平衡方程得到的最终线索
从一个全新的角度来重新审视第二定律的分割平衡方程 (4.1) 以及冯·贝塔朗菲、薛定谔和普利高津提出的一般观点,我们立刻能发现一些重要线索 [31]。需要特别指出的是,这里的关键点并不是:有序流只要能产生足够的熵来补偿其内部熵的减少就被允许存在。而是,当从微观到宏观的选择(自发秩序构建)发生时,熵产生的速率必须始终上升。更准确地说,产生的秩序越多,熵产生率就会越大。
图6展示了在一个简单的实验中,从无序到有序的转变过程中熵产生率(即从热源到热汇的热传输)急剧增加。该实验过程类似于图4的贝纳德对流实验,其再次印证了我们上面在自催化的动力产生过程中观察到的情况。这是一种基于速率的路径选择,由此,“世界会从事秩序生产” 这个核心问题的答案实际上已经呼之欲出了[4]。

图 6. 在类似于图4的简单流体实验中,从无序到有序转变过程中热传输速率的不连续增加(热通量与源/汇梯度关系图)[4]。
(vi) 热力学第四定律(LMEP),或为什么世界从事秩序生产
前面的章节直接引出了能够解释自发秩序构建的物理选择原理。这是冯·贝塔朗菲、薛定谔和普利高津从未提出过的问题的答案,它与路径选择或速率有关。具体而言,问题是“系统在走向平衡(熵最大化或势能最小化)的过程中,将从众多可行路径中选择哪条路径?”当然,第二定律在这个问题上是沉默的。它只说在所有自然过程中,熵都会增加。这个问题的答案,同时也是整个物理选择以及“为什么存在普遍秩序构建、生命和认知”的答案,是最大熵产生定律(law of maximum entropy production,LMEP),也称热力学第四定律 [1,4,5,26,31–33]:
一个系统(世界)将在满足约束的条件下选择所有可选路径中使势能最小化或熵最大化的速度最快的路径或路径组合。
第四定律本身并没有直接谈到自发秩序构建,但结合第二定律的平衡方程,很容易推导出普遍的秩序构建原理,即:
如果 热力学第四定律或LMEP成立(世界会选择......速度最快的路径)
并且如果 有序流能比无序流更快地产生熵(第二定律的平衡方程)
那么 只要有机会,世界就将从无序中选择有序
当然,这正是实际发生的情况。像第一和第二定律一样,LMEP 满足了科学中最严格的标准,即它可以用一种简单物理实验可证伪的方式表述。同时,和第一、二定律一样,自提出以来已有三十多年,从未被证伪。LMEP 实质上扩展了热力学范畴,其适用范围是普遍的,覆盖了所有范围和尺度的平衡态和非平衡态场景 [26,31](见附录B)。
5. 生命、信息和“心智”(认知)的进化
把最大熵产生定律(LMEP)与自催化动力(ACK)系统的关系性、自指(self-referencing)及内在自放大循环因果性(ACK+LMEP=ACKLMEP)相结合,就化解了“两条对立河流”的问题,并为我们提供了生命本质填充时空维度(由自然选择所依赖的生物极值或繁殖力原则所体现)的普遍物理基础[5, 20, 34]。在认知(心智)及其进化理论(包括最新的4E后计算主义理论)中,笛卡尔二元论根源依然显而易见,ACKLMEP 为我们提供了这些理论中所缺失的主体性或动机驱使的活动[27, 35]。尽管最大熵产生定律给了我们自催化动力系统,尤其是 ACKLMEP,并因此给了我们系统对存在的紧迫感、对时空的填充以及自发秩序构建的普遍性,但它们并未直接解释生命和认知的特殊之处。
(a) 生命特别在哪里以及为什么特别?
所有的生命/认知系统都是自催化动力系统,但并非所有自催化动力系统都具备生命或认知。那么,当 (i) 从外部观察它们和 (ii) 从内部观察它们时,是什么将生命系统与非生命系统区别开来?对 (i) 的简短回答是“意向性”(intentionality),这个词需要立即澄清,去除“心中之目的”(局限于人类心智状态,这是一个很晚才进化出来的案例)的含义。参考布伦塔诺(Brentano)[36] 的观点,我们将意向性定义为由语义内容或意义前瞻性地控制或决定的、目的导向的行为 [37, 38]。
我们不会用意向性或意义来解释河流沿坡度下降、热量沿梯度下降的现象,也不会用这些概念解释非生物自催化动力系统获取资源、维持自身秩序的“自私”行为。因为这些过程是由局部力场和势决定的。相比之下,当细菌逆向梯度游动时,它的行为方向往往与局部的势所决定的方向不同,甚至直接相反。与河流、或贝纳德对流实验等受制于局部梯度或势能的自催化动力系统不同,移除贝纳德对流的热源,它就会“死亡”。生命系统对它们的局部势能表现出随意性 [5]。例如一个细菌的食物来源被切断后,它可能会进入休眠状态,直到出现新的势能;或者它的活动实际上可能会增加,因为它会去寻找新的、不连续分布的势能来摄食。
这就是生命的意向性,是生命的核心区别特征。生命系统是认识(认知)系统,其在长时间和距离上构成其自身的自催化动力系统。这一系统对局部的势表现出随意性,取而代之,它们使用自身“内置”的势能(图1中的EIII)和信息(在语义或意义的层面上)【3】来寻找和获取非局部势能以及到达原本不可及的时空维度。生命起源及其渐次秩序构建所带来的原本不可及的耗散维度剧烈增长,回答了生命特殊性的 “为什么” 问题。认知、意向性和感知,作为世界不断增长的认识维度,或作为自然界中的心智,并非像笛卡尔形而上学所认为的那样与物理世界不可通约,而是被视为其直接表现 [27,39]。
脚注【3】:在这里强调“具有意义的信息”或“关于什么 (aboutness)”,目的是将“信息”一词与香农或其信息论意义完全区分开来。尽管该词经常被误用,但正如香农自己明确指出的那样,香农信息与意义(语义)完全无关。
(b) 第一定律、时间平移对称性以及信息的物理基础
这里还有一个重要的缺失部分。生命以由意义或信息决定的目的导向性为特征,但尽管 ACKLMEP 及其主动的、“自私的”关系本体给了我们很多启示,信息本身的本体论基础仍然需要进一步阐明。具体来说,在“无意义”粒子构成的物理世界中,意义从何而来?笛卡尔主义及其继承者给我们留下了某种形式的笛卡尔循环:“心智”不与外部世界存在任何联系,而只是简单地感知自身。信息是在“心智”中被创造或构建出来的东西,而不是原本存在于世界上的。这种观点认为“感知”本质上是一个在“心智”或大脑内部进行心智操作或计算的创造性过程,这一观点至今仍占主导地位。计算心智理论 (computational theory of mind,CTM) 就是其中被广泛认可的一种形式。一种在计算神经科学领域引领潮流的观点是“感知即预测”,它认为感知是脑内模型进行的概率计算。这种观点的拥护者,如前所述,他们声称生命体违反了第二定律 [17],并宣称“感知和想象之间存在着深刻的统一性” [40]。脱离了热力学定律,所有这些观点都存在同样的问题:如何解释产生生命及其认知特性的主体性、主动的努力或动机驱动的行为。在这些观点中,包括4E版本的认知,没有一个能解释意义是如何进入世界的(除了靠想象力创造),或者如果意义原本就存在,认知主体如何与之建立联系。【4】
脚注【4】:在更字面意义上的算法计算模型中,这归结为如何从纯语法中获得语义的问题。
最后,除了这些问题之外,认为“认知发生在大脑中”的模型还有另一个问题:如前所述,认知功能与生命密不可分,在人类大脑甚至任何大脑出现之前,就已经存在了。因此感知显然是一个比这更深刻、更基础的现象。它是意向性的一种必然体现,是生命体建立和维持自身自催化动力的决定性手段。但是,信息到底在哪里呢?
吉布森(Gibson)[41]和他的生态感知方法给出了关键。如前所述,感知正是一种生命体协调其行为以适应非局部势能的方式,其完全不是心智所构建的,而是直接的、基于物理规律的。构建、想象和模型可能是人类和其他生命形式在不同程度上使用的东西,但在这种观点看来,这与感知是截然不同的。吉布森的核心洞察是,生命体被环境能量流 (如光、力、化学能) 所包围,相对于它们用来驱动自身意向性行为的 “内置”势能来说,这些能量流的平均能量含量非常低 [5]。他认识到的是,由于这些流的不变性质,它们以符合物理规律的方式携带着关于其远端源的信息,以供认识主体进行有目的(如细菌趋化性和趋光性)的前瞻性控制。感知是对这些信息的获取,它是基于物理规律的、直接的、不通过内在表征、计算或推理来完成。
吉布森没有明确地提到热力学,但他确实提出了一个非凡的、开创性的感知理论,并阐明了信息是基于物理规律的。吉布森对信息概念的理解(虽然并未明确表明)其实是对第一定律时间平移对称性的体现 [4, 27]。简而言之,这个卓越观点当与第四定律和自催化动力学相结合时,将允许我们跨越最后的桥梁,展示信息、认知和智能的物理基础。
(c) 信息、有复制能力的秩序构建、以及速率无关的约束条件
第 5a 节提出的问题的第二部分,即从内部观察时生命是什么,仍未得到解答。生命系统是有复制能力的系统(对比复制性系统),即具有内部复制性组件的自催化动力系统 [4, 5]。除了由组件的流所构成外,它们还是组件的生产系统。生命体的标志能力是可相对于局部的势随意行动,这背后体现的是它们在组件生产过程中维持任意机能的能力,而这则是通过一组必要的速率无关约束(rate-independent constraints, RIC)来实现的。具体来说,这组内部约束相对于自催化动力循环的其余部分是离散的、顺序的、速率无关的。例如,序列的顺序(如本页上的文字,是对上述机制的高阶实例;或者 DNA 链中的碱基对序列)相对于它们被“书写”和“读取”的速率是在热力学意义上是任意的(即,复制一段相同长度的 DNA 所消耗的 ATP 量是相同的,而与特定序列无关)。从内部观察一个自催化动力系统,如果它具有这些特征(即带有速率无关约束的组件复制),那么该系统就是一个生命/认知系统。
值得注意的是,对速率无关约束功能的理解(以基因和严格意义上的算法为典型例子)将所有各种形式的“魔法制造者”还原论完全颠覆了。这种还原论者们想要通过“自私的复制子” [22] 或算法 [16, 20, 34],将所有生命体或“心智”的主动主体性、意向动力学偷偷地塞进世界。速率无关约束(包括 DNA 和本页上的文字)的全部功能并非源于其主动性、其努力或某种内在主体性,而是依赖于它们相对的不活跃性或惰性,这一特性立刻使它们在这类叙述中被赋予的主体性失去了立足点。
6. 结论
现代科学世界观建立在笛卡尔形而上学、认知(心智)与物理(物质)、以及之后的生命与物理的不相容性(生物学的自主性)之上。玻尔兹曼将热力学第二定律视为“无序定律”,这巩固了“两条对立河流”的观念:物理的河流“向下”流向无序,生命与心智的河流则“向上”流入当代科学。今天,这种观点仍是被广泛接受的一个基石。以这种方式将各个学科分隔开的后果是严重限制了每个学科的范围和理论深度,使得最深刻的问题得不到解答,例如,什么是生命的本质及其认知能力就在当代科学理论的处理范围之外。本文介绍了一种扩展的物理学观点,通过加入热力学第四定律(LMEP),结合第一定律的时间平移对称性及自催化动力系统的关系本体的自指循环性,提供了一个统一物理、生命、信息和认知(心智)的大统一理论的基础,其消解了“两条河流”的错误见解,极大地增强了这几个学科的理论范围。
附录A. 关于 “自组织系统” 这个不那么准确的术语
显然,如果随意更改术语的含义,任何论证的结果都可以被颠覆,猪都可以飞起来。这一情况也适用于“自组织”(self-organization) 这个词【5】,不同的定义会导致错误的混淆。目前自组织这个词主要用于指代两个相反的类别。第一种用法是用来描述自催化动力系统,其中经典的贝纳德对流实验是一个非生物的典型。第二种用法是用来描述基于规则或程序的系统。
脚注【5】:对于“耗散结构”也是一样(见[35]的讨论)
例如,巴滕(Batten)等人[42] 将 “自组织” 定义为 “一个过程,其中全局层级 ... 仅仅 ... 从指定系统组件之间交互的规则中涌现 ... 在较低层级执行”。但是,全局模式仅通过这种方式执行的规则产生的唯一地方是在计算机中。这就引出了使用“仅仅” 这个词带来的问题,因为整个系统首先是被外部编程的,它本身位于一个自催化动力系统之中,并且是在其内部产生的。与此相关的是,切梅罗(Chemero)[43] 以常见的鸟群模拟作为自组织系统的例子,指出其中 “没有鸟作为领导者”,要形成鸟群,每只鸟只需要遵循一套 “简单规则”。但这里的问题是一样的。“自组织” 在这样定义下,将整个环境或关系本体排除在了这个术语之外,而根据本文论点来看,这些恰恰是关键所在。所有基于规则的系统(所有使用速率无关约束的系统)都位于自催化动力系统的内部,自催化动力不仅解释了规则如何被选择,还解释了让规则运作或有理由开始运作所必要的读、写与翻译。(请参阅 [20] 以获得进一步讨论)。本文使用“ACK”或“自催化动力” 系统这个术语正是为了做出这种非常重要的区分。最后,总结本附录:当错误地混用概念而没有作出上述区分时,往往就会把超物理的(=“魔法”)主体性或因果性“走私”进来,使得机器里的幽灵挥之不去。
附录 B: 热力学第四定律(LMEP)、MEP、MEPP、MaxEP以及错误混淆
自我们近 35 年前提出第四定律 (LMEP) 以来,对 LMEP 的错误陈述在相关文献中越来越多,这些错误本身又成为了产生更多错误的参考源。要批评每一个错误陈述远远超出本文讨论范围(详见 [19, 31]),但为了避免更多错误,本文将简要说明一些常见混淆及其问题。首先是命名问题。我们最初为LMEP给出的缩写“MEP”不幸地在约十年前被用来指代一个关于错误的“MEP”原则(这里称为“MEPw”)。有些人正确地表述了 LMEP,但用的是另一个有时也被用于 MEPw 的缩略词。后来,跟随一些学者,我们将“L”添加到缩略词中 (LMEP) 以示区分。不久之后,Martinez-Castilla & Martinez-Khan [44] 将 LMEP 描述为第四定律,我们和其他人也认同了这一观点,并开始将 LMEP 称为 “第四定律”。LMEP仍然被一些人贴上其他名称,如MaxEP、MEPP等,这些名称也同时被用于指代 MEPw。
熟悉相关文献的人会知道,MEPw 是一个在 30 至 40 年前就被普利高津学派和其他像我们一样致力于研究演化秩序构建问题所放弃的失败假设。大致来说, MEPw希望声称对于距离平衡态足够远的系统,熵产生会增加到一个最大值(单调上升),最终到达某个熵产生最大化的假想的稳态或静止态。除了文献之外,对生命系统,甚至是无生命的自催化动力系统的研究都表明,这个原理根本是错误的。用简单术语来说 [5,8,20],自催化动力系统是发育系统,随着它们的成长,它们必然受到广义异速生长(generalized allometry)的影响,如表面积/体积变化、自由度的冻结、或广义的衰老,这意味着在某一时刻它们的单位熵产生会下降。这在贝纳德对流的发展过程可以清晰观察到,这也说明了为什么细胞总是选择分裂而不是单纯变大(详细研究见[8, 20])。生命系统也受到同样的一般规律影响,甚至表现得更明显。此外,如果人们理解了生命是什么、为什么以及如何存在 (§5a)(相对于局部势能的随意性),那么生命系统所采用的行为“策略”将意味着它们的熵产生率会发生剧烈波动,这完全取决于它们是什么以及最初为什么被物理选择出来[4]。第四定律在所有范围内都有效,包括平衡态和远离平衡态,它回答了与失败的 MEPw 完全不同的问题,因此不将两者混淆是很重要的。忽视这一点不仅是对相关物理学的误解,更是对生命和认知的起源、本质和进化的误解。有关普利高津的最小熵产生原理 (其事实上不与 LMEP 冲突) 和杰恩(Jayne)的最大熵原理(信息论推断方法)的混淆将在别处讨论 [20,31]。
参考文献
Swenson R. 1991 Order, evolution, and natural law: fundamental relations in complex systemstheory. InCybernetics and applied systems(ed. C Negoita), pp. 125–148. New York, NY: MarcelDekker, Inc.
Swenson R. 1998 Thermodynamics, evolution, and behavior. InThe handbook of comparativepsychology(eds G Greenberg, M Harway), pp. 207–218. New York, NY: Garland Publishing.
Swenson R. Lecture. Swiss Institute, June 29, 2016, ‘The law of maximum entropy production,autocatakinetics, and the evolutionary epistemology of planetary evolution from cells toglobal economies’. Seehttp://uconn.academia.edu/RodSwenson.
Swenson R. 1997 Autocatakinetics, evolution, and the law of maximum entropy production:a principled foundation toward the study of human ecology.Adv. Hum. Ecol.6, 1–46.
Swenson R, Turvey MT. 1991 Thermodynamic reasons for perception-action cycles.Ecol.Psychol.3, 317–348. (doi:10.1207/s15326969eco0304_2)
Mayr E. 1965 Cause and effect in biology. InCause and effect(ed. D Lerner), pp. 33–50.New York, NY: Free Press.
Swenson R. 2000 Spontaneous order, autocatakinetic closure, and the development of space-time.Ann. N. Y. Acad. Sci.901, 311–319. (doi:10.1111/j.1749-6632.2000.tb06290.x)
Swenson R. 1992 Autocatakinetics, yes, autopoiesis, no: steps towards a theory of unifiedevolutionary ordering.Int. J. Gen. Syst.21, 207–228. (doi:10.1080/03081079208945072)
Eddington AS. 1929The nature of the physical world. New York, NY: Macmillan.
Carnot S. 1824/1960 Reflections on the motive power of fire, and on machines fitted to developthat power. InReflections on the motive power of fire(ed. W Thurston), pp. 3–22. New York, NY:Dover.
Clausius R. 1865 Über verschiedene für die Anwendung bequeme Formen derHauptgleichungen der mechanischen Wärmetheorie.Ann. Phys. Chem.7, 389–400.(doi:10.1002/andp.18652010702)
Thomson W. 1852 On the universal tendency in nature to the dissipation of mechanical energy.Philos. Mag. J. Sci.4, 304–306. (doi:10.1080/14786445208647126)
Boltzmann L. 1886/1974 The second law of thermodynamics.PopulareSchriften, Essay 3, 29May. InTheoretical Physics and Philosophical Problems(trans. SG Brush), pp. 13-32. Boston, MA:D. Reidel Publishing.
Fisher R. 1958 The genetical theory of natural selection. New York, NY: Dover.
Levins R, Lewontin R. 1985 The dialectical biologist. Cambridge, MA: Harvard University Press.
Dennett D. 1995 Darwin’s dangerous idea and the meaning of life.NewYork,NY:Simon&Schuster.
Friston K. 2010 The free energy principle: a unified brain theory?Nat. Rev. Neurosci.11, 127–137. (doi:10.1038/nrn2787)
Popper K. 1985 Unended quest: an intellectual autobiography. La Salle, IL: Open Court.
Darwin C. 1937/1859 On the origin of species by means of natural selection or the preservation offavored races in the struggle for life. New York, NY: D. Appleton.
Swenson R. 2010 Selection is entailed by self-organization and natural selection is a specialcase.Biol. Theory5, 167–181. (doi:10.1162/BIOT_a_00030)
Swenson R. 1991 End-directed physics and evolutionary ordering: obviating the problem ofthe population of one. In The cybernetics of complex systems: self-organization, and social change(ed. F Geyer). CA: Int. Publications.
Dawkins R. 1982 The extended phenotype. San Francisco, CA: Freeman.
Maynard-Smith J. 1988 Evolutionary progress and levels of selection. InEvolutionary progress(ed. M Nitecki), pp. 219–230. Chicago, IL: University of Chicago Press.
Gould SJ. 2011Full house: the spread of excellence from Plato to Darwin. Cambridge, MA: HarvardUniversity Press.
Sober E. 1984The nature of selection: evolutionary theory in philosophical focus. Cambridge, MA:Bradford Books.
Swenson R. 2009 The fourth law of thermodynamics or the law of maximum entropyproduction (LMEP).Chemistry18, 333–339.
Swenson R. 2019 The fourth law of thermodynamics (LMEP) and cognition from firstprinciples: commentary on Barrett’s ‘On the nature and origins of cognition as a form of motivated activity,’.Adapt. Behav.28, 105–107. (doi:10.1177/1059712319856536)
von Bertalanffy L. 1952 Problems of life. London, UK: Watts.
Schrödinger E. 1962/1944What is life?Cambridge, UK: Cambridge University Press.
Prigogine I. 1977Time, structure and fluctuations. Nobel Lecture. Seehttps://www.nobelprize.org/uploads/2018/06/prigogine-lecture.pdf.
Martinez-Kahn M, Martinez-Castilla L. 2010 The fourth law of thermodynamics: the law ofmaximum entropy production (LMEP), an interview with Rod Swenson.Ecol. Psychol.22,69–87. (doi:10.1080/10407410903493160)
Swenson R. 1989 Gauss-in-a-box: nailing down the first principles of action.Perceiving-Act.Workshop Rev.(Technical Report of the CESPA, Univ. CT)6, 35–38.
Mahulikar S, Harwig H. 2009 Conceptual investigation of the entropy principle foridentification of directives for the creation, existence, and total destruction of order.Phys. Scr.70, 212–221. (doi:10.1238/Physica.Regular.070a00212)
Swenson R. 1997 Evolutionary theory developing: the problem with Darwin’s dangerous idea.Ecol. Psychol.9, 47–96. (doi:10.1207/s15326969eco0901_3)
Barrett N. 2019 On the nature and origin of cognition as a form of motivated activity.Adapt.Behav.28, 89–103. (doi:10.1177/1059712318824325)
Brentano F. 1973/1894Psychology from an empirical standpoint.NewYork,NY:Routledge.
Swenson R. 1998 Spontaneous order, evolution, and autocatakinetics: the nomological basisfor the emergence of meaning. InEvolutionary systems(eds G van de Vijver, S Salthe,M Delpos), pp. 155–180. Dordrecht, The Netherlands: Kluwer.
Swenson R. 1999 Epistemic ordering and the development of space-time: intentionality as auniversal entailment.Semiotica127, 181–222. (doi:10.1515/semi.1999.127.1-4.567)
Swenson R. 1989 Emergent evolution and the global attractor: the evolutionary epistemologyof entropy production maximization.Proc. 33rd Ann. Meeting of the Int. Soc. Syst. Scie33, 46–53.
Clark A. 2015 Perceiving as predicting. InPerception and Its modalities(eds D Stokes,M Matthen, S Biggs), pp. 23–43. Oxford, UK: Oxford University Press.
Gibson J. 1986The ecological approach to visual perception. Hillsdale, NJ: Earlbaum.
Batten D, Salthe S, Boshetti F. 2008 Self-organization proposes what natural selection disposes.Biol. Theory3, 17–29. (doi:10.1162/biot.2008.3.1.17)
Chemero T. 2017 ‘The World Around Us’ at The World In Us; Gestalt Structure,Phenomenology and Embodied Cognition July 7th 2017. Seehttps://www.youtube.com/watch?v=dZn9Y1jqGls.
Martinez-Castilla L, Martinez-Kuhn M. 2010 Darwin elesarolloo de otra ley termodinamica(Darwin and the development of another law of thermodynamics).Educ. Quim.21, 230–237.(doi:10.1016/s0187-893x(18)30088-0)
原标题:《从热力学第二定律到第四定律:关于物理、生命、信息、认知的大统一理论》
本文为澎湃号作者或机构在澎湃新闻上传并发布,仅代表该作者或机构观点,不代表澎湃新闻的观点或立场,澎湃新闻仅提供信息发布平台。申请澎湃号请用电脑访问http://renzheng.thepaper.cn。





- 报料热线: 021-962866
- 报料邮箱: news@thepaper.cn
互联网新闻信息服务许可证:31120170006
增值电信业务经营许可证:沪B2-2017116
© 2014-2026 上海东方报业有限公司




