- +1
暴雨、大暴雨!预警升级,河南进入防汛关键期!紧急通知→
7月16日
河南正式进入“七下八上”防汛关键期
据气象部门预测
未来一周我省将出现多轮强降水天气
降水持续时间长,累计雨量大
局部地区有暴雨、大暴雨、特大暴雨
具有一定的极端性和致灾性
楼阳生就做好主汛期及本轮降雨过程
防汛抢险救灾工作作出批示
扛牢责任 有力应对
坚决保护好人民群众生命安全
7月16日,省委书记楼阳生就做好主汛期及本轮降雨过程防汛抢险救灾工作作出批示。他强调,我省已进入防汛关键期,当前面临多轮强降雨的严峻形势,省、市、县各级党委和政府要坚决贯彻习近平总书记关于防灾减灾救灾的重要论述重要指示,扛牢责任,有力应对,及时转移涉险群众,及时调集足够的应急力量开展抢险,坚决守住底线,坚决保护好人民群众生命安全。
多个预警升级!注意防范
中央气象台
今天(16日)凌晨到早上
全国降水榜前十
几乎都被河南包圆
今天河南、山东等地
成为暴雨核心区域
其中河南局地有特大暴雨
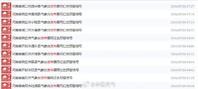
南阳、商丘、周口、开封等多地
已拉响最高级别的暴雨红色预警


河南省气象台2024年7月16日9时00分升级发布暴雨橙色预警:昨日至今晨,我省西南部、中东部出现暴雨,南阳东北部、驻马店西部、漯河、许昌、周口北部、开封南部、商丘西部等地出现大暴雨,其中南阳东北部、周口北部、许昌南部特大暴雨,最大降水量社旗县大冯营638.5毫米。
预计7月16日9时至17日9时,我省黄淮之间和新乡东部部分县市有大到暴雨,其中南阳东部、平顶山东部、许昌、漯河北部、周口西北部、开封东南部、商丘部分县市有大暴雨,局部特大暴雨,并伴有短时强降水(最大小时雨强50-80毫米)、雷暴大风(8到9级)等强对流天气。

据@中央气象台预计:7月16日至18日,四川盆地西北部、河南东部、山东南部、苏皖北部等地的部分地区有大暴雨,局地特大暴雨,并伴有雷暴大风和短时强降水等强对流天气。经综合研判,中国气象局于今天9时将暴雨三级应急响应提升为暴雨二级应急响应。
中国天气气象分析师唐晓静表示:由于副热带高压稳定少动,边缘急流强盛,北侧有弱冷空气南下,形成稳定的切变系统,未来2天,河南南部和东部仍将有持续强降雨天气,其中西南部一带,累计降水量仍有明显极端性,且夜间增强特征显著,持续强降雨可能引发城乡内涝、山洪、泥石流、滑坡等次生灾害,请公众注意关注雨情、汛情,多加警惕。

今天上午,淮河水利委员会升级发布洪水黄色预警,影响范围为河南信阳市、安徽阜阳市、六安市。河南省水文水资源测报中心7月15日20时发布水灾害风险提示,15日20时至16日20时局部强降雨影响洛阳市、南阳市、三门峡市、驻马店市、平顶山市、商丘市、周口市、许昌市、漯河市、开封市、新乡市、焦作市等地部分地区水灾害风险较高。

最新数据显示
河南超汛限水位大中型水库
已增至29座↓
受降雨影响,唐白河、洪汝河出现洪水过程,唐河社旗水文站出现超保洪水,唐河水文站、郭滩水文站出现超警洪水。
截至16日9时,全省有汝南宿鸭湖,商城鲇鱼山,确山薄山,驿城区板桥,泌阳宋家场,舞钢石漫滩,叶县燕山7座大型水库和唐河虎山,泌阳石门、三山、华山、霍庄、火石山,方城望花亭,舞钢田岗,邓州刘山,卧龙兰营、龙王沟、打磨石岩、冢岗庙、彭李坑,鲁山澎河,西平潭山、康山,遂平下宋,南召辛庄、廖庄,淮滨兔子湖,潢川老龙埂22座中型水库超汛限水位,正有序泄洪。
河南省气象局、河南省农业农村厅联合升级发布农田渍涝灾害高风险预警:7月以来我省大部地区降水较常年同期偏多1倍以上,部分农田土壤持续偏湿,天数已超过5天,豫南局部地区超过10天。预计未来10天我省降水持续时间长,累计雨量大、暴雨落区重叠度高,且有一定极端性,全省大部农田渍涝,灾害风险较高。

建议防御措施
1.提前疏浚田间沟渠和通河沟渠,做到内联外通,保障排水畅通;做好应急排涝机具和队伍准备,及时抢排低洼地块积水。
2.持续降雨容易造成肥料淋融,雨后要及时追施速效氮肥,防止作物后期脱肥。
3.雨后加强玉米褐斑病、叶斑病、南方锈病、玉米螟、花生白绢病、水稻“两迁”害虫、稻瘟病等病虫害监测防控。

应对强降雨,河南紧急通知
今晨(16日)8时
省防指对南阳启动防汛一级应急响应
并于今天(16日)11时
对郑州、开封、平顶山、新乡
许昌、漯河、商丘、周口
驻马店市启动防汛三级应急响应
同时终止对信阳市的防汛四级应急响应
省防指要求
相关省辖市要持续保持
高度戒备状态
严格落实“123”“321”防汛工作要求
按照预案规定的响应行动
落实落细防范应对措施
确保人民群众生命安全
遇有重大险情灾情第一时间报告省防指
为应对可能发生的暴雨洪涝灾害
河南省防灾减灾救灾委员会办公室
发布紧急通知
↓
要求各级各部门从压实防汛责任、加强会商调度、完善应急预案、加快排涝工程建设、做好队伍物资准备、落实重点防范措施、强化宣传引导等七个方面做好城市区域防范应对工作。
根据通知,各级各部门要压实城市防汛责任,明确工作任务。各级防指要严格落实“123”“321”工作机制,加强指挥会商调度,针对局地突发强降雨应对,要做好分区分级响应和避险转移、抢险救援等一线临灾处置工作。
在完善城市应急预案方面,通知提出,城市防洪排涝主管部门要制订城区排水防涝专项预案,明确内涝影响范围、应急措施和相关部门联系人。针对超标准暴雨制订专项方案,明确洪涝水的“分、蓄、滞、排”措施。街道、社区预案应明确风险区域、需转移人员、预警信号、转移路线和责任人。与此同时,通知要求,要加快排涝工程建设,开展易积水点改造,提升城市防洪排涝能力,落实重点防范措施,各级各部门要根据预案及时启动响应,重点关注易涝积水点、深基坑、临水滨河道路、涉山涉水景区和地铁、隧道、地下车库等地点,做到严格排查、专人巡防,并做好应急处置准备,提前向重点防范区域和高风险地区预置排涝设备和抢险救援队伍。
在预置抢险救援力量和物资方面,通知提出,要立足应对城市极端暴雨时可能发生的特别重大险情灾情,特别是断路、断电、断网等情况所需的抢险救灾物资装备;针对生命线工程、重要基础设施、地下空间等设置挡水设施,备足防汛沙袋。
此外,通知要求,各级各部门要广泛开展防灾避险知识宣传和教育,积极推动防汛防涝安全知识“进企业、进家庭、进机关、进校园、进社区”,常态化宣传极端暴雨安全防范和应急处置知识,不断强化市民防灾避险意识和自救能力,引导市民有序防灾避险。
南阳遭遇极端暴雨
启动防汛一级应急响应
7月14日以来,南阳遭遇连续强降雨天气,打破今年河南最强暴雨纪录。中国天气网最新消息称,按昨日8时至今日8时统计,最大降水量出现在南阳社旗大冯营,为606.7毫米;按昨日3时至今日3时统计,大冯营降水量达到683.5毫米。

社旗国家站15日20时至16日6时降水量418.6毫米突破建站以来日降水历史极值。

鉴于南阳市暴雨持续
河南对南阳市启动
防汛一级应急响应
↓
鉴于南阳市当前严峻防汛形势,经会商研判,根据《河南省防汛应急预案》有关规定,省防指决定于7月16日8时针对南阳市启动防汛一级应急响应。
省防指要求,南阳市各级各部门要迅速进入防汛应急状态,按照防汛应急预案规定启动防汛应急响应;党委、政府主要负责同志要靠前指挥,各级责任人上岗到位;进一步强化监测预警、会商研判,突出重点部位防守,预置抢险救援队伍和物资;一旦发生险情灾情,立即组织抢险救援,及时报告防汛救灾工作信息,全力保障人民群众生命财产安全。省防指有关成员单位要立即支援支持南阳市抗洪抢险工作。
7月16日,武警河南总队南阳支队紧急出动60余名官兵携带救援器材和物资奔赴一线,经过8个多小时的连续奋战,共转移灾区及周边村民500余人,物资200余件(套)。
据了解,河南多支救援队伍驰援南阳,已有超40支救援队已抵达南阳,开展救援。



南阳市应急管理局相关工作人员表示,现在降水量正在减少,救援工作正在进行中,暂未接到人员伤亡的报告。
这份暴雨避险防御指南
一定收好!
“七下八上”防汛关键期
暴雨天出行应该注意什么?
雷雨天如何做好预防?
山洪到来如何自救?

大家一定要提高警惕
密切关注最新预报预警信息
近期外出时
不要选择河滩、谷地
以及地势低洼的地方
天气恶劣时尽量避免外出
不要跟暴雨
强对流天气硬碰硬
能躲则躲,注意安全
河南共青团综合整理,转载请注明来源
来源:河南日报、应急管理部、央视新闻、国家应急广播、@中央气象台、@中国天气、@河南气象、南阳日报、水利部网站、河南省水文水资源测报中心等
欢迎留言~点赞~分享~
原标题:《暴雨、大暴雨!预警升级,河南进入防汛关键期!紧急通知→》
本文为澎湃号作者或机构在澎湃新闻上传并发布,仅代表该作者或机构观点,不代表澎湃新闻的观点或立场,澎湃新闻仅提供信息发布平台。申请澎湃号请用电脑访问http://renzheng.thepaper.cn。





- 报料热线: 021-962866
- 报料邮箱: news@thepaper.cn
互联网新闻信息服务许可证:31120170006
增值电信业务经营许可证:沪B2-2017116
© 2014-2026 上海东方报业有限公司




