- +1
大学生参军后成长成才发展途径
2024-11-26 16:55
来源:澎湃新闻·澎湃号·媒体
字号
义务兵长期留队有哪些发展方向?
义务兵晋升为军官的方式有哪些?
这份义务兵部队发展指南
一起来看看吧!
一、选改军士义务兵服现役期满,根据军队需要和本人自愿,经批准可以选改为军士;服现役期间表现特别优秀的,经批准可以提前选改为军士。
选改军士基本条件:1.具有中国国籍;2.志愿献身国防和军队建设;3.具有良好的政治素质和道德品行;4.具有高中(中职)毕业以上学历;5.具备履职的身体条件、心理素质和工作能力;6.法律、法规规定的其他条件。
提前选改军士条件:根据《军士职业教育发展管理暂行规定》,义务兵服现役满1年,具备《军士暂行条例》规定的军士基本条件且符合以下条件可优先提前选改军士:
具有全日制大专以上学历的大学毕业生士兵,首次选取为军士的,在地方高校学习时间视同服役时间。
二、大学毕业生士兵提干入伍前为普通高等全日制本科以上学历的大学生士兵,在部队有机会提干成为一名军官。
大学毕业生士兵提干应当符合下列条件:

优先推荐符合前款条件,且具备下列条件之一的,应当优先推荐:
三、士兵考学普通高中毕业以上文化程度或者同等学力的义务兵可以报考军校。
参加军队院校招生考试条件:
四、优秀士兵保送入学:普通高中毕业以上文化程度或者同等学力的义务兵有机会保送军校。
优秀士兵保送入学应当符合下列条件:

在驻西藏和三类以上艰苦边远地区少数民族聚居区部队服役的少数民族士兵,年龄可以放宽1岁(截至当年1月1日)。


因文艺演出、体育比赛、新闻报道立功的不作为选拔条件。
广大青年朋友们,参军报国,无上光荣!如果大家还有其他关于参军方面的问题,欢迎通过以下方式咨询。(一)网上咨询方式:
登陆“全国征兵网”(http://www.gfbzb.gov.cn)
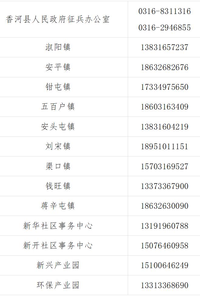
(二)电话咨询方式:

原标题:《大学生参军后成长成才发展途径》
特别声明
本文为澎湃号作者或机构在澎湃新闻上传并发布,仅代表该作者或机构观点,不代表澎湃新闻的观点或立场,澎湃新闻仅提供信息发布平台。申请澎湃号请用电脑访问http://renzheng.thepaper.cn。
+1
收藏
我要举报





查看更多
澎湃矩阵
新闻报料
- 报料热线: 021-962866
- 报料邮箱: news@thepaper.cn
互联网新闻信息服务许可证:31120170006
增值电信业务经营许可证:沪B2-2017116
© 2014-2026 上海东方报业有限公司
反馈




