- +1
烧瓷砖不如烧芯片,陶瓷巨头集体跨界

文源 | 源媒汇
作者 | 谢春生
编辑 | 苏淮
传统建筑陶瓷行业正面临市场收缩压力。
中国建筑卫生陶瓷协会发布的数据显示,2024年全国陶瓷砖产量为59.1亿㎡ ,同比下滑12.08%;建筑陶瓷工业规模以上企业单位数共993家,较2023年减少29家;生产线数量减少至2193条,退出率为11.75%。经营上,头部、腰部企业陷入营收下滑,净利润亏损更是常态。
就在行业集体收缩之际,天安新材却在业绩上跑出新增长曲线,更盯上大热的人形机器人赛道。
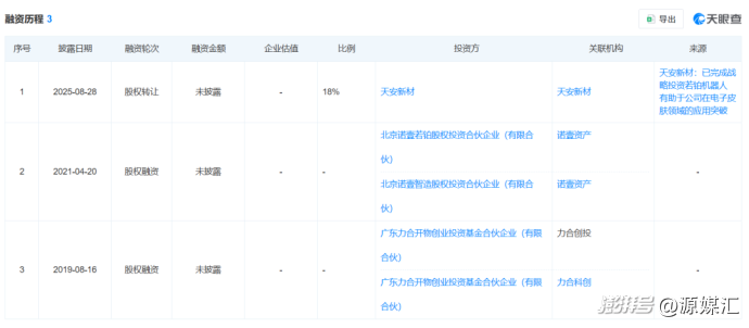
8月底,天安新材宣布完成对广东若铂智能机器人有限公司(下称“若铂机器人”)18%股权的受让,标志着这家传统新材料企业正式切入机器人赛道。
天安新材并非个例。在陶瓷行业整体景气度持续下滑的背景下,越来越多传统建陶企业将AI、机器人、芯片等领域视为第二增长曲线,掀起跨界布局热潮。
01
进军人形机器人赛道
天安新材对若铂机器人的投资,藏着一条“材料基因”的暗线。
天眼查显示,若铂机器人成立于2016年,是一家聚焦机器人核心技术——伺服驱动与控制系统算法研发的企业,并已构建起覆盖人工智能、机器人和工业互联网三大领域的技术矩阵;过去9年时间里,企业共计完成3轮融资。

截图来源于天眼查
之所以看上若铂机器人,与天安新材想要进军人形机器人赛道有直接关系。
天安新材方面曾向媒体表示,若铂机器人的技术、产品与公司正在研发的电子皮肤技术具有高度协同性,若铂在机器人智能控制方面的技术积累和产品应用经验,将为公司在电子皮肤方面的实践验证与产品落地提供强有力的支持,推动公司在电子皮肤领域的应用突破。
据悉,电子皮肤主要应用于机器人灵巧手上,而后者为人形机器人的关键零部件之一。如今,伴随着人形赛道加速冲向“感知时代”,电子皮肤也成为行业进化的关键,更被视为人形实现生产力进化的“最后一公里”。
Ground View Research数据显示,2024年全球电子皮肤市场规模约为109亿美元,预计2025年将同比增长21.1%达到132亿美元。
只是,作为一家逐步实现从材料供应商转型为环保艺术空间综合服务商的企业,欲打造闭环家居产业生态圈的天安新材,进军高科技赛道的底气从何而来?
针对2025年上半年业绩、投资若铂机器人等情况,源媒汇日前也致函天安新材方面,截至发稿未获回复。
“机器人皮肤对肤感柔软性、耐弯折、耐磨以及轻量化属性的要求,与公司自主研发的高分子复合饰面材料高度适配,使公司具备对电子皮肤开展同源性研发的基础。”天安新材董事长、总经理吴启超,在2025年上半年的业绩说明会上,就投资者提出的“公司研发电子皮肤与现有业务的关联度”问题如是答复。
吴启超同时透露,公司虽积极与多所国内科研院校、头部传感器企业、机器人厂商进行相关技术交流与应用探讨,但目前公司在电子皮肤相关领域仍处于技术探索和研究阶段,暂未有相关产品,对公司业绩不构成影响。
产品上虽有技术共同性,但传统产区产能过剩与头部企业智能化工厂迎来订单潮的撕裂反差,或才是驱动企业转型的关键。
数据显示,在“双碳”目标倒逼下,广东、山东等传统产区加速淘汰落后产能,2024年关停燃煤窑炉超200条,而数字化生产线占比从2020年的15%跃升至2025年的38%。
这也让天安新材意识到,智能制造或才是建陶行业的未来。
02
陶企集体跨界高科技
如今,“AI+陶瓷融合”已成为业内最热门的话题。
有专家指出,陶瓷产业链AI应用有几大价值领域:一是智能质检,缺陷检出率>99.5%,比人工质检成本降70%;二是窑炉优化,能耗降8%-15%,燃气费年省200万+;三是配方研发,研发周期缩短50%-70%,实验成本降60%;四是环保治理,污染物排放减少30%,环保罚款降90%等。
洞悉到个中机遇的陶瓷企业,悄然展开布局。2025年年初,蒙娜丽莎基于国产大模型DeepSeek-R1率先推出“营销M-AI平台”,成为陶瓷圈首个拥抱AI时代的企业。
新明珠集团则用“AI视觉质检系统”优化生产流程,既能自动识别瓷砖表面缺陷,还能结合大数据回溯分析,从根本上提升产品质量;同时,新明珠旗下的冠珠瓷砖,在2025年的佛山潭洲展上,发布了行业首款 AI概念岩板产品。
此外,早在两年前,科达制造便在投资者平台披露,公司已推出运输重载AGV、堆高式激光AGV、七轴机器人、机器人码垛工艺控制等,为下游陶瓷厂客户提供包装、仓储智能等解决方案。在产品应用上,公司将装备与智能AGV、智能无人叉车、视觉并联机器人、自动施釉、自动存储等前沿技术综合应用,将瓷砖生产线的自动输送、自动施釉、自动存储建立工艺系统联接,助力客户提高生产效率、降低成本。
不仅在产品和产线上引入AI、机器人等,更有企业直接进场布局相关赛道,欲从中分一杯羹。
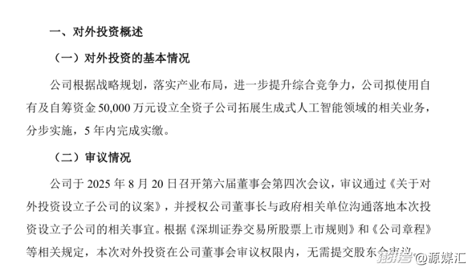
除了前文提及的天安新材投资若铂机器人,帝欧家居在2025年8月22日也发布公告称,拟使用自有及自筹资金5亿元,设立全资子公司“水华未来科技有限公司”(暂定名),拓展生成式人工智能领域的相关业务。

图片来源:帝欧家居公告
蒙娜丽莎与道氏技术则盯上更上游的赛道——芯片。
2025年3月7日,蒙娜丽莎子公司蒙娜丽莎投资,与专业投资机构青岛金玉浑璞私募基金管理合伙企业(有限合伙)及其他有限合伙人共同签署合伙协议。协议商定,蒙娜丽莎投资作为有限合伙人,以自有资金认购青岛浑璞智芯九期创业投资基金合伙企业(有限合伙)基金份额,认缴出资金额为2000万元,认缴出资占比44.43%。
此前的2024年12月26日,蒙娜丽莎投资便与金玉浑璞私募及其他有限合伙人共同签署合伙协议,以自有资金认购青岛浑璞华芯十期创业投资基金合伙企业(有限合伙)基金份额,认缴出资金额为1000万元。
不久前,道氏技术也与芯培森在广东省佛山市禅城区南庄镇合资成立广东赫曦智算中心有限公司,打造全球首座专门用于进行原子级科学计算的规模化算力中心,注册资本5000万元。
在机器人、AI与芯片等新兴领域频下重注背后,藏着各大陶瓷企业业绩失速的焦虑。
03
迫切寻找第二曲线
源媒汇统计发现,2025年上半年,13家上市陶瓷企业中,超六成企业营收陷入同比下滑,其中不乏东鹏控股、箭牌家居等头部企业;超五成企业净利润遭遇同比下滑,其中还有三家陷入亏损状态;而能够实现营收、净利双升的,仅有天安新材、科达制造、*ST松发和华瓷股份四家。

天安新材作为业内少数几家能够实现营收、净利双升的企业,引发外界关注。
财报数据显示,2025年上半年,天安新材实现营收和归母净利润为14.44亿元、0.62亿元,同比增长3.97%、16.59%。

图片来源:天安新材2025年半年度报告
对于业绩增长,天安新材方面归功于公司持续夯实高分子复合饰面材料、建筑陶瓷两大主业。
具体来看,在高分子复合饰面材料板块,公司营收大幅增长。例如,上半年汽车内饰饰面材料业务便实现营收3.06亿元,同比增长35.96%。
天安新材上半年业绩虽然保持稳健,但传统业务承压的现状,凸显出转型的迫切性。
分业务看,公司建筑陶瓷销量突破2030万方,同比增长6%。但受终端价格下行影响,陶瓷业务营收仅5.94亿元,同比下滑6%。
这种“量增价跌”的态势,正是建陶行业普遍困境的缩影:市场需求疲软、价格竞争加剧,企业亟需开拓新增长极。
在此背景下,天安新材自然想要谋求新突围路径。并且,从过往的跨界情况来看,其确实也有成功经验。
2017年上市后,天安新材便谋划从材料制造商向环保艺术空间综合服务商转型。2021年,公司完成对佛山老牌陶瓷企业鹰牌陶瓷的并购,推动鹰牌从单一瓷砖生产商向“陶瓷+大家居”一站式家居解决方案综合服务商转型。
之后,天安新材又成立天汇建科,进军医院装配式EPC公装领域;同时,通过收购南方设计院、参股佛山隽业,实现从建筑设计、建筑施工、室内整装到建材材料的全产业链闭环。
这使天安新材形成了以鹰牌集团、天安高分子、浙江瑞欣和天安集成构成的材料板块,和以南方设计院、天汇建科、佛山隽业构成的EPC板块两大业务板块。

图片来源:天安新材2025年半年度报告
表面上看,多元化发展驱动天安新材的业绩稳健增长。但也正如前述所言,随着建筑陶瓷市场陷入下行,加上行业“内卷式”竞争严峻,谁也无法确保这样的增长会不会突然中断。
天安新材跨界押注的AI与机器人领域,尽管前景可期,却仍需直面三大挑战:
一、技术壁垒高。天安新材虽在新材料领域经验丰富,但机器人与AI技术涉及全新的技术体系和人才结构,短期内难以补齐短板;
二、市场竞争激烈。除传统企业外,科技公司与创业团队已抢先布局,如武汉华威科智能在电子皮肤领域市占率超50%,形成先发优势;
三、投资回报周期长。机器人技术研发与产业化需持续大量投资,短期内却难见收益,对上市公司的资金与耐心是不小考验。
当陶瓷企业开始思考机器人的触觉需求,这个古老的行业,看似摸到了未来的脉搏。只是,成功何时兑现,尚需时间给出答案。
部分图片引用网络 如有侵权请告知删除
本文为澎湃号作者或机构在澎湃新闻上传并发布,仅代表该作者或机构观点,不代表澎湃新闻的观点或立场,澎湃新闻仅提供信息发布平台。申请澎湃号请用电脑访问http://renzheng.thepaper.cn。





- 报料热线: 021-962866
- 报料邮箱: news@thepaper.cn
互联网新闻信息服务许可证:31120170006
增值电信业务经营许可证:沪B2-2017116
© 2014-2026 上海东方报业有限公司




